データ提供 PR TIMES
本記事の内容に関するお問い合わせ、または掲載についてのお問い合わせは株式会社 PR TIMES (release_fujitv@prtimes.co.jp)までご連絡ください。また、製品・サービスなどに関するお問い合わせに関しましては、それぞれの発表企業・団体にご連絡ください。
プレスリリース配信元:株式会社アーティス
~「全国自治体病院ウェブアクセシビリティ対応調査結果」~
Webサイト制作やWebアプリケーション開発、名刺通販など、ユーザーとのコミュニケーションデザインを手掛ける株式会社アーティス(本社:静岡県浜松市中央区板屋町111-2 浜松アクトタワー20F、代表取締役:池谷義紀)は、障害者差別解消法の改正によりウェブアクセシビリティへの関心が高まっている状況を踏まえ、公共性の高い全国の自治体病院(500床以上)を対象に、ウェブアクセシビリティ対応の現状を調査しました。
自治体病院のウェブサイトは、総務省が公開している「みんなの公共サイト運用ガイドライン(2024年度版)」において、ウェブアクセシビリティへの対応が“責務”として位置づけられています。しかし、今回の調査では、対象95病院のうち67病院が、対応の第一歩となる「ウェブアクセシビリティ方針」をサイト上に掲載していないことが明らかになりました。
さらに、同ガイドラインに沿った体系的な取り組みを公開していたのは、わずか1病院のみという結果でした。
調査の背景
2024年の「障害者差別解消法」の改正により、ウェブアクセシビリティへの社会的関心と必要性は一段と高まっています。法改正によってウェブアクセシビリティが直ちに義務化されたわけではありませんが、誰もが等しく情報へアクセスできる環境づくりが重要であるという認識は確実に広がりつつあります。さらに、総務省が2005年に策定し、2024年に改訂版が公開された「みんなの公共サイト運用ガイドライン」では、公的機関のウェブサイトにおいて、ウェブアクセシビリティへの取組は“責務”として明確に示されています。
こうした背景を踏まえ、高い公共性を持ち、アクセシビリティ配慮の必要性がより大きい「全国の自治体病院ウェブサイト」を対象に、ウェブアクセシビリティ対応の現状と取組状況について調査を実施しました。
「全国自治体病院ウェブアクセシビリティ対応調査」の主な結果
95病院中67病院が「ウェブアクセシビリティ方針」も未掲載調査の結果、95病院のうち実に67病院が、ウェブアクセシビリティ対応の第一歩ともいえる「ウェブアクセシビリティ方針」が未掲載でした。
方針の策定・公開は、アクセシビリティへの取り組み状況を明示し、継続的な改善を行うための重要な基盤です。
しかし、その段階に至っていない病院が多数を占めている点は、自治体病院全体としての取り組みの遅れを示唆しています。
一度公開しても更新が途絶えているケースが多数
ウェブアクセシビリティ方針や試験結果を公開している病院であっても、初回の公開のみで、その後の更新が行われていない例が多く見られました。また、必須記載事項(対応範囲、目標、達成基準、試験実施日など)が欠けているケースも多く見られました。
アクセシビリティは一度の取り組みで完結するものではなく、継続的な改善が求められるため、この点は大きな課題といえます。
取組確認・評価表まで公開している病院は“1病院のみ”
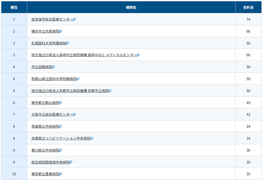
調査対象の中で、「ウェブアクセシビリティ取組確認・評価表」まで公表していたのは、佐世保市総合医療センターの1病院のみでした。
ガイドラインに沿った体系的な取り組みを行っている病院は極めて少ない状況が浮き彫りとなりました。
■調査結果(上位10位)

同率順位は50音順で掲載しています。
今回の調査を通じて
総務省が定める「みんなの公共サイト運用ガイドライン(2024年度版)」は、自治体病院においてまだ十分に浸透しておらず、ウェブアクセシビリティの整備には大きな課題が残されていることが明らかとなりました。ウェブアクセシビリティは、すべての利用者が情報へ等しくアクセスできる環境を整えるために欠かせない要素であり、その必要性を病院側が深く理解することが、今後の改善に向けた第一歩となります。
利用者にとってより公平で利用しやすいウェブサイトを実現するためにも、各病院がウェブアクセシビリティの重要性を認識し、継続的に取り組む姿勢が求められます。
調査の詳細
「全国自治体病院ウェブアクセシビリティ対応調査」ウェブアクセシビリティへの社会的関心と必要性は一段と高まっている状況をふまえ、高い公共性を持ち、またアクセシビリティ配慮の必要性がより大きい「全国の自治体病院ウェブサイト」を対象に、ウェブアクセシビリティ対応の現状と取組状況について調査を実施。
調査期間
2025年8月4日(月)~2025年10月31日(金)
調査方法
各病院のウェブサイトを閲覧し、下記の項目について「情報が公開されているかどうか」を目視で確認
「ウェブアクセシビリティ方針」の策定と公開状況
「目標とする適合レベル」(例:WCAG 2.1 AAなど)の明記有無
「ウェブアクセシビリティ試験結果」の掲載有無
「ウェブアクセシビリティ取組確認・評価表」の掲載有無
調査対象
全国の自治体が管理・運営する病床数500床以上の病院ウェブサイト
(市立・県立病院、国保直営病院、地方独立行政法人が運営する病院などを含む)
上記の条件に該当する95サイトを対象に調査を実施
関連サイト
調査データ・結果の詳細は下記サイトよりご確認ください。
https://www.asobou.co.jp/web-accessibility/hospital/
企業プレスリリース詳細へ
PR TIMESトップへ